 |
|
|
|
 |
Reviewer: Srajan Ebaen
Financial interests: click here
Sources: Retina 5K 27" iMac (4GHz quad-core with Turbo boost, 32GB RAM, 3TB FusionDrive, OSX Yosemite. iTunes 12.2), PureMusic 2.04, Qobuz Hifi, Tidal Hifi, COS Engineering D1, Metrum Hex, AURALiC Vega, Aqua Hifi La Scala MkII, SOtM dX-USB HD w. super-clock upgrade & mBPS-d2s, Apple iPod Classic 160GB (AIFF), Astell& Kern AK100 modified by Red Wine Audio, Cambridge Audio iD100, Pro-Ject Dock Box S Digital, Pure i20, S.A. Lab Lilt [on loan]
Preamplifier: COS Engineering D1, Nagra Jazz, Esoteric C-03, Bent Audio Tap-X, Vinnie Rossi Lio (Slageformer AVC)
Power & integrated amplifiers: Pass Labs XA30.8, FirstWatt S1, F6; Crayon Audio CFA-1.2; Goldmund Job 225; Gato Audio DIA-250; Aura Note Premier; Wyred4Sound mINT; AURALiC Merak [on loan], Vinnie Rossi Lio
Loudspeakers: Albedo Audio Aptica; EnigmAcoustics Mythology 1; Sounddeco Sigma 2; Eversound Essence; soundkaos Wave 40; Boenicke Audio W5se; Zu Audio Submission; German Physiks HRS-120, Gallo Strada II w. TR-3D subwoofer
Cables: Complete loom of Zu Event MkI and MkII; KingRex uArt double-header USB; Tombo Trøn S/PDIF; van den Hul AES/EBU; AudioQuest Diamond glass-fibre Toslink; Arkana Research XLR/RCA and speaker cables [on loan]
Power delivery: Vibex Granada/Alhambra on all components, 5m cords to amp/s and subwoofer
Equipment rack: Artesania Audio Exoteryc double-wide 3-tier with optional glass shelves and Krion or glass-based Exoteryc stand/s for amp/s
Sundry accessories: Acoustic System resonators
Room: Irregularly shaped 9.5 x 10m open floor plan with additional 2nd-floor loft; wood-paneled sloping ceiling; parquet flooring; lots of non-parallel surfaces (pictorial tour here)
Review component retail: $3'500
|
 |
SST. Sex sells things. It sure does. Not here though. SST is actually shorthand for the rather unsexy Spread Spectrum Technologies. Most would associate that with the frequency hopping between various microwave bands of cordless phones. Not here.
Instead, it's the last brand of hifi legend James Bongiorno before his 35-year long fight against liver cancer ended. If the name Ampzilla seems a gas, that'd be literal truth. It first roamed the hifi badlands under GAS for Great American Sound, another JB venture. At Sumo he'd introduced the world to a transistor circlotron*. Earlier he'd contributed at Hadley, Dynaco, Marantz, SAE, Harmon-Kardon and Crown Radio Japan. His Charlie The Tuner remains one of the wittiest names ever bequeathed to hifi tuna.
|
|
|
|
|
 |
|
|
Mutual friend and hifi luminary Bascom King introduced Jim Bongiorno to EJ Sarmento at Wyred4Sound. Both being Californians, it was natural for James to eventually contract SST production to Cullen Circuits which became W4S. It focused his remaining energies on circuit design, not manufacture. By 2012 his health had begun to further erode. Now Sarmento acquired ownership of the brand and the rights to continue developing Bongiorno's circuits. This secured brand survival and JB's IP. Two years after Bongiorno's passing, SST relaunched in mid 2015 with a new web presence and product catalogue. Jim's last website Ampzilla2000.com now redirects to SST. Whathrilla! Here's an older chat between Robert Harley and James Bongiorno.
* Whilst there are contemporary Circlotronic tube amps from Atma-Sphere, BAT and Einstein for instance, for transistors I'm only aware of the powerful monos which Frank Blöhbaum designed for Thorens. The basic concept is a balanced/bridged output stage with floating power supplies whose earliest roots date back to Electro-Voice and parallel patents. Early commercial applications included Carad, Mel, Philips, Shimada and Voima. Today things seem rather quiet on the subject but reader Lionel Yron reminded me that the Schiit Ragnarok adds itself to the transistorized short list. |
|
|
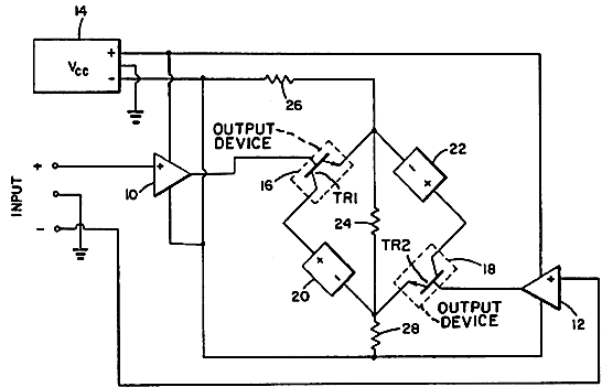
If we look at the abstract of Bongiorno's 1980 patent #4229706 exploited in the Sumo 9, it is about "a Class A power amplifier circuit which includes means for controlling the quiescent bias current of the output devices of the amplifier and providing absolute overload and short circuit protection without the need of extra protective devices of any kind. The circuit includes a driver stage which amplifies an input signal and provides two outputs which are out of phase with respect to each other by 180°. One output of the driver stage provides a drive signal to the control input of a first output device, while the other output of the driver stage provides a drive signal to the control input of a second output device. Power is provided to the driver stage by a standard grounded center-tapped power supply.
"A pair of independent floating power supplies are cross-connected between the two output devices so that the supply terminal of each output device is connected to one terminal of one of the power supplies, while the output terminal of each of the output devices is connected to the opposite phase terminal of the opposite power supply. A resistor is connected between the output terminal of each of the output devices and one terminal of the power supply which powers the driver stages. The load is connected between output terminals of the output devices. The circuit arrangement provides control of the value of the quiescent control input current of each of the output devices which in turn controls the quiescent value of the bias currents of each of the output devices, thus resulting in an amplifier of greatly improved thermal stability...." |
|
|
|
|
|
|
|
By all accounts, JB wasn't just really gifted and one of US hifi's early originals like Mr. 'Linear Cube' Bob Carver. He also was a colourful very outspoken character. Like the equally opinionated OTL priest Harvey 'Gizmo' Rosenberg, he attended hifi shows dressed nattily but also very loudly. And like various iterations of Nelson Pass Zen amps which spawned actual offspring and Bride of Zen mates, so did Bongiorno's original 1974 Ampzilla for GAS beget a Son of Ampzilla (1977-1982) and a Grandson (1978-1982). There even was a 90-watt class A Godzilla in a short run of 20. For preamps of that era, he had the Thaedra I & II, the Thoebe and the Thalia I & II. As the left photo shows, SST's reborn Ampzilla 2000 retains the Flash Gordon cosmetics of JB's style down to the dinosaur tooth 'A' of the shiny logo. Here Sarmento's only concession at year 2015 normalcy is a black option. The same goes for the matching Ambrosia Second Edition preamp below.
For all his committed respect for this particular master's legacy, EJ is a savvy enough business man to appreciate that this rough-hewn vintage styling becomes its own barrier.
Blue was cool during the days of Miles Davis, that Ampzilla logo hip during the heydays of the Starship Enterprise TV run. Alas, all that was before Apple's almighty winter with its global white-out and general crisp sleek-up. For SST's new Son of Ampzilla II stereo amp and matching Thoebe II full-function preamp, EJ takes his cue card from Henry Ford and Men in Black. It's a black tie affair exclusively, with threads more conservative. |
|
| |
|
It's what's inside which remains original JB circuitry. That sets it apart also from W4S's own products to be no old wine in new flasks but a genuine alternative. Behind the new Son of Ampzilla II stereo amp's toned-down casing lurks a third-gen circuit whose doubling of transistors produces twice the power of the original. That's 220wpc into 8Ω, 350wpc into 4Ω and still claimed stable into 1Ω. The topology is described as "fully balanced input to output with full four-quadrant differential push-pull feedback from both sides of the speaker and complete servo control, with a 2000VA power transformer and 100'000µF of power supply capacitance in twin supplies isolated for each channel." ±0.1dB bandwidth is 20Hz to 20kHz, leaving one to speculate how far into the stratosphere it might extend before hitting -3dB. Gain is a nearly standard 27.5dB with a 1.76V input sensitivity, noise is
a low 45µV. All of that hits the scale at about 9.9 x 17.25 x 5.6" DxWxH and 40lbs whilst the wallet is emptied of $3'000. Whereas the basic topology descriptions and B+/B- LEDs suggested a Circlotron, the absence of rear-panel warnings against shorting outputs and no mention of floating power supplies spoke against it. To be sure either way, EJ had to chime in. After all, he now is the father of number-two son. And did the abstract of Bongiorno's patent** above imply that the Son had to be a class A amp? Could it not operate in more efficient class A/B instead?
|
|
|
|
|
On the same patent page, we see prior citations and references. This includes patents granted to Advanced Res Associates Inc. (1959), Westinghouse Electric Corp. (1967), Muter Company (1968), Jack Gershelf (1987), William Snyder (1988), Rockford Corp. (2000), Atma-Sphere Music Systems Inc. (2001), Joseph Norman Berry (2004), Rockford Corp. (2008), Frank Blöhbaum (2005), Avantgarde Acoustic Lautsprechersysteme GmbH (2005) and Frank Blöhbaum (2005). Clearly there are many wrinkles intrinsic to the general Circlotron concept which make for unique implementations.
"This amp is not a Circlotron but rather, runs in fully differential class A/B as Ampzillas have over the years, though with some improvements. The casework online needs updating regarding the rear panel and warnings within. Like our other amps, no output should be shorted but this amp can likely drive the short for some time before blowing the rail fuse. Because we have six pairs of 12A drivers on each channel, damage is not likely. Each output is also ground referenced so no large voltage offsets either." With that sorted, EJ promised to riff a bit on what distinguishes this son not of anarchy but Alone Again (JB was also a musician). |
|
|
 |
|
|
|
|